Сообщение от MOISNEG
Посмотреть сообщение
Объявление
Свернуть
Пока нет объявлений.
RB750Upr2 при подаче питания по POE пишет Current too low и циклически ВКЛ/ВЫКЛ POE
Свернуть
X
-
Я думаю КЗ это превышение тока порта, а превышение лимита по току, это превышение тока относительно заявленного класса устройства, насколько это относится к микротику сложно пока сказать, т.к. я не понял пытается он определить класс устройства или нет в его версии ПОЕ, но то что у него не обычное пассив ПОЕ это точно, с выебонами так сказать. В RB750Upr2 оно реализовано на микроконтроллере Atmel tiny поэтому алгоритм его работы покрыт мраком и тайной микротика.Последний раз редактировалось 777evgeny777; 25.01.2018, 05:35.
-
Флуд!Сообщение от 777evgeny777 Посмотреть сообщениеЯ думаю КЗ это превышение тока порта, а превышение лимита по току
Где ебоны, в чём мрак и тайна? Этмел запрограммирован на несколько простейших операц. Замерил/сравнил поуправлял мосфетом.Сообщение от 777evgeny777 Посмотреть сообщението что у него не обычное пассив ПОЕ это точно, с выебонами так сказать. В RB750Upr2 оно реализовано на микроконтроллере Atmel tiny поэтому алгоритм его работы покрыт мраком и тайной микротика.
Комментарий
-
пое контроллер отрабатывает со стороны мастера (по результатам измерений), со слейвом никто не разговаривает (подтверждается работой Ваших же костылей)DC_DC просто НЕ ВОЗБУЖДАЕТСЯ при напряжении ниже порогового.Сообщение от 777evgeny777 Посмотреть сообщениеЕсли речь о микротике, то немного не такой алгоритм, там они подразумевают что в нагрузке должен быть пое контроллер и он просто не даст разрешение на запуск DC-DC пока не договориться с линией.
Комментарий
-
Позволю себе с Вами не согласиться по все пунктам.
1 . Если прочитать те ссылки что я давал выше , то из них станет ясно, что PSE контроллирует как превышение общего бюджета т.е. КЗ, так и превышение тока устройством относительно того класса питания которое им заявлено (или по умолчанию 0 класс), но это все справедливо для настоящего ПОЕ.
2. Выебоны как раз в том что там стоит не специализированный контроллер PSE алгоритм которого выложен в документации на всеобщее обозрение, а именно атмел в котором реализован НЕИЗВЕСТНЫЙ мне полностью алгоритм (думаю и Вам тоже) управления ПОЕ, может он известен Вам ? тогда просветите пожалуйста. Сам факт что там стоит контроллер, приводит к мысли что это не пассив ПОЕ как таковой, который тупо без контроля подает напряжение, а именно какое-то гибридное решение, основанное на пассив пое и пое 802.3af/t, но что там от чего позаимствоанно мне не ясно.Именно исходя из этого умозаключения я готов применить пункт 1 выше обозначенный к микротику т.к. откинуть его уже не получается ввиду наличия какого-то алгоритма в пое системе микротика позиционируемой ими как пассив ПОЕ.
3. Со слэйвом как раз разговаривают, просто что вы имеете ввиду под разговором ? Слэйв (т.е. его PD контроллер) должен как минимум 2 раза сообщить мастеру (PSE контроллер) данные это то что он есть на линии и свой класс путем реакции на изменение напряжения т.е. изменением сопротивления линии соответсвенно изменением тока в линии , именно так нормальный контроллер PSE понимает какой класс устройства к нему подключен и какой ток он может ему дать , а потом контроллировать его превышение, заметьте не превышение бюджета а именно тока на конкретном порту в зависимости от класса заявленного устройством подключенного на этом порту. DC-DC не должен возбуждаться пока контроллер PD в устройстве не разрешит ему это сделать, а разрешит он ему включится ТОЛЬКО после того как договориться НА АНАЛОГОВОМ уровне с контроллером PSE.
Повторюсь это алгоритм "обычного" пое, не пассив ПОЕ, но в микротике скажем так смарт пассив ПОЕ, вопрос в том насколько он СМАРТ и что он там СМАРТ, это мне не удалось выяснить до конца, кроме скупых описаний в роутерОС.
Все это естественно мои домыслы, буду рад если я чтото не знаю или не понимаю и человек знающий и понимающий агрументированно меня поправит.
Та лабуда которую я спаял, она делает ответ только один раз (так называемая PD сигнатура и то не полностью, да криво, да на уровне инстинктов работы транзистора, но она реагирует !!! ), второй раз она не ответит (насчет класса) и он либо будет принят по умолчанию, либо питание не будет подано, в случае с микротиком первый вариант. ко всему прочему работа ПОЕ подразумевает контроль минимального тока на линии, по документации на "обычное" пое он составляет не менее 5 ма в течении 400 мс, в случае с микротиком пока не ясно, но ясно что это ограничение тоже присутствует.
Кстати у меня не очень хорошая новость, собрал я схему на транзисторе, с активной нагрузкой 100 ма и питанием 24 в, все отлично. С реле на 30 ма и питанием 12 в начали наблюдатся самопроизвольные кратковременные выключения раз в минуту, две , без каких либо ошибок, зараза. не ясно что ему надо.просто в логах пишет что ожидание нагрузки и потом порт влючен. Раньше хоть ошибки были, а теперь по мнению микротика все хорошо, но реле то отключается. буду разбираться дальше чем это вызвано, либо транзистор по какойто причине отключает нагрузку либо микротик, не логгируя ошибку.
Вот такое вот веселое пассив пое в микротике. думаю надо на входе поставить диод, а лучше диодный мост с емкостью и поглядеть что изменится.
Для справок (из мануалов на чипы) чтоб далеко не лазить :
Процедура подачи и отключения питания на кабель состоит из нескольких этапов.
Этап определения подключения служит для того чтобы определить, поддерживает ли устройство, подключенное на противоположном конце кабеля, технологию PoE, то есть является устройством типа PD. На этом этапе PSE-устройство последовательно подает на кабель напряжение: сначала 2,8 В и затем 10 B. При этом определяется значение входного сопротивления подключаемого устройства. Для PD-устройства - это сопротивление в диапазоне 23,75...26,25 кОм (25 кОм ±1%). PSE-устройство также определяет входную емкость ПУ при помощи измерения нарастания напряжения на нагрузке. Измеренная емкость должна быть в пределах 0,05 и 0,12 мкФ. Только после проверки соответствия этих параметров нормативам для PD-устройства, питающее PSE-устройство переходит к следующему этапу - этапу классификации.
Этап классификации служит для определения диапазона мощности, которую может потреблять PD-устройство, чтобы затем контролировать эту мощность. Классификация выполняется путем подачи в кабель PSE-устройством напряжения 14,5...20,5 В и измерения тока в линии.
Этап подачи рабочего напряжения. После прохождения этапов определения и классификации устройство PSE подает в кабель напряжение 48 В с фронтом нарастания не быстрее 400 мс. После подачи полного напряжения на PD-устройство, PSE-устройство осуществляет контроль над его работой, который заключается в следующем: если PD-устройство в течение 400 мс будет потреблять ток меньше 5 мА, то PSE-устройство снимает питание с кабеля (PSE-устройство непрерывно следит за потребляемой мощностью); если потребляемая PD-устройством мощность будет в течение 75 мс превышать максимальную для своего класса мощность (которая определена на этапе классификации), то PSE-устройство также снимет питание с кабеля.
Этап отключения. Когда PSE-устройство определит, что PD-устройство отключено от кабеля или произошла перегрузка потребляемого тока PD-устройством, происходит снятие напряжение с кабеля за время не меньше 500 мс.
еще вот тут более менее описана вся процедура по обычному пое http://app.efo.ru/storage/art/micro/PoE_Befact.pdf
Там кстати есть про перегрузки по токам , чем они отличаются, то о чем в начале я писал.Последний раз редактировалось 777evgeny777; 25.01.2018, 11:52.
Комментарий
-
Извиняюсь, конечно же не правильно написал не тока порта, а максимального тока порта (т.е. 400 ма.)Сообщение от 777evgeny777 Посмотреть сообщениеЯ думаю КЗ это превышение тока порта, а превышение лимита по току, это превышение тока относительно заявленного класса устройства
Ну и соответственно .... относительно заявленного класса устройства на конкретном порту.
Просто пишу быстро не всегда удается проверить, поэтому и описки с ошибками встречаются, извиняйте.
PS.
Адаптер заработал как надо, руки просто кривые у меня недосмотрел.Последний раз редактировалось 777evgeny777; 25.01.2018, 12:54.
Комментарий
-
На основании чево и , главное, для чево контроллер не разрешит DC-DC возбуждаться?Сообщение от 777evgeny777 Посмотреть сообщениеDC-DC не должен возбуждаться пока контроллер PD в устройстве не разрешит ему это сделать, а разрешит он ему включится ТОЛЬКО после того как договориться НА АНАЛОГОВОМ уровне с контроллером PSE.
Комментарий
-
Это вопрос теоретический про ПОЕ 802af или про мой случай конкретно ( у меня нет DC-DC если что) ? Я честно не понял, уточните, чтобы я не писал много буков не про тот случай, про который Вы спрашиваете.А то как то мы понять друг друга не можем вот и закрадывается подозрение , что мы про разные вещи пытаемся разговаривать.Сообщение от MOISNEG Посмотреть сообщениеНа основании чево и , главное, для чево контроллер не разрешит DC-DC возбуждаться?
Поглядите схему любого заводского пое устройства или хотя бы структуру PD контроллера и Вы поймете почему DC-DC не запуститься пока PD не даст добро. А вот вопрос по чему не разрешают запуск DC-DC с низкого напряжения, это вопрос схемотехники применяемых в устройствах DC-DC, некоторые просто нельзя запускать на напряжении значительно ниже расчетного, некоторые нет смысла т.к. толку не будет, некоторые можно, но они дороги ,а потому бессмысленны в устройствах этого типа. Я так думаю, если в кратце. DC-DC как правило изготавливаются на определенный диапазон напряжений где они работают на оптимальных и безопасных для себя и запитываемого ими устройств режимах.Последний раз редактировалось 777evgeny777; 25.01.2018, 18:11.
Комментарий
-
Ты сер а я, приятель, сед! Эт Крылов.Сообщение от 777evgeny777 Посмотреть сообщениеПоглядите схему любого заводского пое устройства или хотя бы структуру PD контроллера и Вы поймете почему DC-DC не запуститься пока PD не даст добро..
Комментарий
-
И ?Сообщение от MOISNEG Посмотреть сообщениеТы сер а я, приятель, сед! Эт Крылов.
Вы согласны со мною что в стандартной схеме включения DC-DC не будет запущен пока PD контроллер не соизволит это разрешить ?
Мои выводы опираются на следующие факты :
1. В PD контроллере в разрыв питания DC-DC стоит ключ на основе мосфета, и управляется он PD контроллером естественно.
2. PD контроллер выдает сигнал Power Good , который собственно и запускает DC-DC когда соблюдены все условия, в том числе и подано полное питание.
Вот на эти факты я опираюсь, когда говорю что не будет пытаться запускаться DC-DC при низком напряжении т.к. ему это позволено не будет.Опять же при стандартной схеме включения.
По части моей проблемы, все же она решена не полностью, имеется некий минимальный ток удержания линии, полагаю более 80 ма в моем случае, пока пытаюсь выяснить чем это вызвано.
Реле с подключенной к нему бесполезной нагрузкой (резисторы) и общим током потребления 85 ма работает стабильно, просто реле без резисторов (ток потребления 36 ма) работает с периодическими отключениями линии. причем периодичность разная. Стабильность наступает когда по показаниям микротика мощность нагрузки достигает 1 вт при 12 в
Пока думаю выяснить что вызывает отключение или режим работы транзисторного ключа неверный и он самопроизвольно отключается или микротику что-то не нравится.
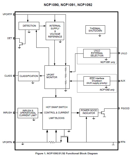
В подтверждение выше сказанного прикладываю структурную схему одного из PD контроллеров :
Минус питания проходит через контакт VPORTN и выходит на DC-DC с контакта RTN ,
попутно формируется сигнал PGOODПоследний раз редактировалось 777evgeny777; 26.01.2018, 05:21.
Комментарий
-
слился )Сообщение от MOISNEG Посмотреть сообщениеТы сер а я, приятель, сед! Эт Крылов.ОСТОРОЖНО! КУСАЮСЬ!!! :diablo:
Комментарий
-
Сообщаю о следующих наблюдениях :
Стабилизация работы порта в режиме AUTO-ON происходит при токе 80 ма не зависимо от питающего напряжения хоть 12 в хоть 24 в, транзисторный ключ закорачивал проводом после включения канала (эмиттер- коллектор) отключения/включения при токе ниже 80 ма все равно происходят, следовательно ключ и его режим работы не причем, отключает именно микротик, ничего не занося в логи относительно причины отключения . Следовательно отслеживание идет по току , а не по мощности.
Попробовал другую модель микротика RB951Ui-2HnD ос 6.41, таких проблем нет, но и пое там другое, упрощенное какое-то, ток не мерит. работает на любой нагрузке.
Апгрейд ПО ПОЕ сделан.
Значит дело в программно-аппаратной реализации ПОЕ каждой конкретной модели микротика . А точнее не известен алгоритм работы их пое контроллера, видать поскольку RB750Upr2 заточена на пое, то и ПОЕ там с выебоном.
Где бы инфу достать поподробнее?Последний раз редактировалось 777evgeny777; 26.01.2018, 09:41.
Комментарий
-
ну, получается, что спасение утопающих - дело рук самих утопающих ))Сообщение от 777evgeny777 Посмотреть сообщениеГде бы инфу достать поподробнее?
попробуй на английском искать.ОСТОРОЖНО! КУСАЮСЬ!!! :diablo:
Комментарий
-
Спасибо за поддержку (с меня лайк!). И тоже считаю НАДО начинать с самого начала в. м. Итак поехали...Сообщение от shmel Посмотреть сообщениеслился )
Тик, в данном случае, не инжектор ПОЕ хоть и является источником для подключаемого (далее СЛЕЙВ) а всево-лиш проводдник. Отбраковать ^чужаков^ незя-нет полной линейки (айпи камеры строят кому не лень). Передовая повер от порт ин в порт аут необходимо соблюсти пожбезопасность а именно сохранность печ.дорожек , порттрансов и контактов рж45 т. е. ограничить сумму повер аут (на все порты)-лимит! Наличие в слейвах не возбуждающихся при низких напряжениях DC-DC позволяет определить чё за зверь на порту. Вот и всё! (Пока всё.)
Комментарий
-
Угу, тока не ясно каким боком к "спасению дорожек и прочих потрохов" имеет ограничение по минимуму тока порта.
Пару дней назад серфил инет на английском, в меру своих способностей, нашел по моему на англоязычном форуме микротика, жлобу одного человека что у него такая же ошибка в таком же устройстве, технических данных он не приводил, что туда подключал я или не понял или не запомнил, но смысл в том что ему посоветовали обратиться в тех поддержку что типа он и сделал, отписаться он не отписывался, посты были концом 2017 года, можно пока подождать ибо если ошибка в ПО имеет место быть ее исправят (по крайней мере я на это надеюсь) ну а пока буду с костылями работать. Найти протокол работы микротиковского пое более подробно чем описано в роутерос думаю не возможно т.к. его вероятней всего нет в широком доступе, тем более если вся проблема в некорректности работы ПО (пока у меня возникли такие выводы).
Комментарий

Комментарий