Объявление
Свернуть
Пока нет объявлений.
Стек из диполей WiFi
Свернуть
X
-
Есть такое, но для самопала, согнуть уголок - нет ничего проще! И металлоёмкость имеет мало значения. Выигрыш в широкой полосе и минимум трудов на единицу усиления.Сообщение от Aleks07111971 Посмотреть сообщениеСлишком уж большая металлоемкость для такого усиления.
В стройматериалах продаётся мелкая оцинкованная сетка. Стоит копейки, вес маленький, гнётся хорошо, режется обычными ножницами... Самое сложное в этой антенне - согнуть диполь из жести от "сгущёнки"!
Для 3Джи, думаю хороший вариант был бы...Вопросы технического характера в личку не задавайте! Всё-равно отправлю на форум!
Олег
Комментарий
-
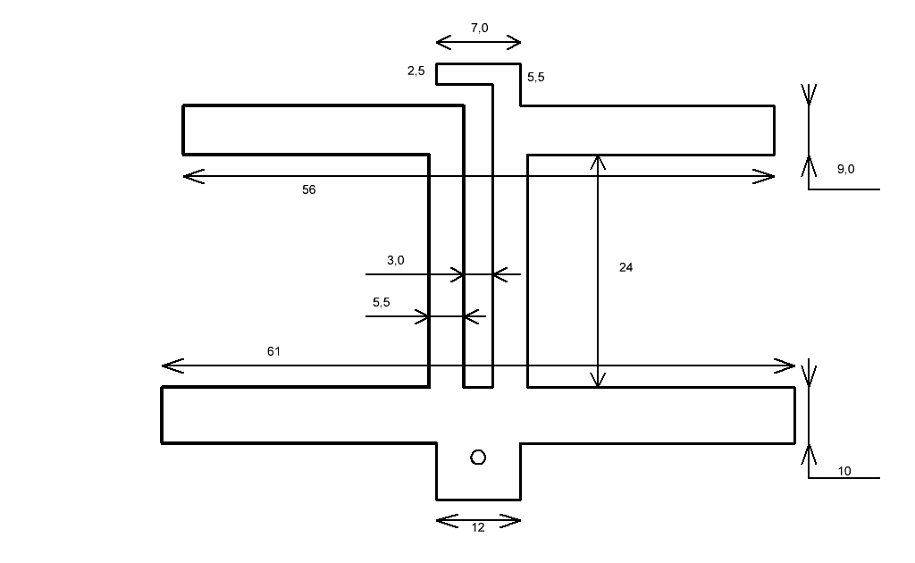
Сообщение от 9876 Посмотреть сообщениеExplain please -
to change the dipole to work with 75омным cable what size you want to change and how ?
I suspect that you need to increase the size of 2mm shown in the figure , to 2.5 mm ?
Or am I mistaken ? Then please give the desired sizes .
Комментарий
-
Прежде чем воспользоваться советом Jomy, подумайте. Он по сути оставил без изменения импеданс антенны 50 Ом, и странсформировал его в 75 Ом. Для узкополосных антенн это нормально, для широкополосных( как в нашем случае) - не оптимально. Трансформаторы сужают рабочую полосу частот антенн.Сообщение от 9876 Посмотреть сообщениеjomy
Понял ,
спасибо .
На мой взгляд нужно было сначала повысить импеданс антенны до 75 Ом, а затем изменить геометрию линии питания до 75 Ом.
Комментарий
-
В общем мне нужен диполь для работы в не свободном пространстве (расположен вплотную к "пипетке" роутера) , подключенный 75смным кабелем .
Просто не хочется лезть паяльником в роутер .
Нечто подобное у меня сейчас уже работает , и совсем не плохо . Но размеры в моем варианте "практически от фонаря" , и еще присутствует рефлектор , ну вроде как для большего усиления , фото на днях сделаю , а чертеж сейчас попробую прикрепить к этому сообщению .
Однако подозреваю что можно и по лучше .
Комментарий
-
Добрый день, Олег. Посчитал я эту перестройку диполя с 50 на 75 Ом линией питания. Как и ожидалось, полоса рабочих частот сузилась с 319 МГц( по Ксв=1.5) до 200 МГц( по Ксв=1.5). К тому же она сильно сместилась вверх по частоте.Сообщение от lipton Посмотреть сообщениеВсё верно... Но я думаю, при таком коэффициенте трансформации, полоса частот сузится ооочень незначительно...
Иван, просчитывал?
Волновое сопротивление линии питания я повышал не сдвигом вправо( как у Jomy), а уменьшением её ширины, см. скрин.
Если перестроить антенну на 75 Ом, полоса наоборот расширится.
Комментарий
-
jomy
Вы предлагаете увеличить длину диполя и рефлектора , но ведь по идее это приведет к еще большему снижению резонансной частоты , а мне нужно 2,44 гигагерц , точнее 12 й канал .
Или я что то совсем запутался ?
Вот обещанные фото :
Эта антенна будет использоваться в том виде - как на фото №9 (№6).
А на другом конце кабеля ФА16 , направленная на "источник" интернета .
Так как (как уже писал) не хочу лезть паяльником в роутер , а антенны у него без разьемов .
Модераторы !
Простите что не совсем в тему мои вопросы , но я подумал что ради пары тройки вопросов создавать новую тему не целесообразно .
Комментарий

Комментарий