EVT дай пожалуйста размеры стакана с прорезями (вопрос согласования)
Объявление
Свернуть
Пока нет объявлений.
4xZZZ модель и конструкция
Свернуть
X
-
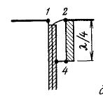
А согласование здесь не используется, трубка как бы продолжение оплетки кабеля т.е. трубка одета на кабель с которого снята внешняя изоляция и оплетка. Следовательно внутренний диаметр трубки должен быть равен диаметру внутренний изоляции. Длина трубки должна быть достаточной, чтобы в ней можно было сделать две прорези по 30 мм.
Комментарий
-
Прорез в трубке (длина - чевертая часть волны) есть элемент симетрирования. Требуется для подключения несиметричного (коаксиального) кабеля к симетричным точкам питания антенны.А согласование здесь не используется
На рисунках разные варианты одного и тогоже четьвертьволнового симетрируещего трансформатора.
Комментарий
-
Не совсем корректно выразился. Не используется согласование по сопротивлению. В самом первом вариант был просто присоединен кабель и он работал. На установку симметрирующего устройства подвигло упоминание в литературе, что разомкнутые рамки (а антенна к этому типу и относиться) хорошо собирают статическое электричество. В результате мы сделали короткозамкнутую антенну, ну и симметрирование не помешает.
mcWit
Если ты про вариант с питанием как у турникетной антенны, то забудь про него. Сделать его довольно трудно. Если при стандартном питании добавить еще два элемента то характеристики антенны ухудшаться.Вложения
Комментарий

Комментарий